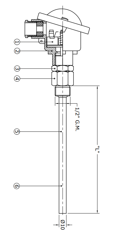
- Meetgebied [°C] : -50…+400.0
- Pt100 sensor: 3-draads, klasse B
- Lengte beschermbuis: 65, 110, 150 of 200 mm,
overige lengtes op aanvraag - dompelbuis materiaal: 1.4435/316L
- Schroefdraad: G1/2″ BSP
- Behuizing : Alu epoxy coating IP65
- Losse dompelbuis RVS
Overzicht Termotech RTD thermometers






